法拍新北市蘆洲區華廈

法拍屋,法拍屋代標,法拍屋出售
最後更新:17小時內
房子基本資料
案名 成功尊邸 近廟口機能商圈│成功路77號3樓 案號 2025/12/18-14:30
地址 新北市蘆洲區成功路77號3樓 ★ 林小陽 0966-781-595 社區/大樓成功尊邸
銷售狀態 待標中 售價
售3070萬售2456萬
房子類型法拍華廈 總登記坪數 50.83 坪
格局 依房屋現場實際狀況為準 屋齡 17年
每坪單價 48.32萬/坪 公設比
車位 車位 座向
無障礙環境 法拍屋 本物件是法拍屋
拍次 :
開標日期 : 2025/12/18-14:30
建物所在樓層 3 管理費
管委會 中庭
電梯 是否為凶宅
300公尺內嫌惡設施 面前道路
面寬 縱深
邊間 房子銷售來源 不動產經紀人/專業仲介
房子特色
Google商店五星推薦★指定合法不動產經紀業★加入仲介公會顧客有保障★

馬上熱搜→→優室法拍→→林小陽~專線~0966781595

------------------------------------------------------------------



成功尊邸近廟口機能商圈│成功路77號3樓

本物件拍賣資訊,若有遺誤,概以執行單位公告為準。



------------------------------------------------------------------



↓台北市法拍屋請點選各區任意門↓



●中正區法拍案件|●大同區法拍案件|●中山區法拍案件|●松山區法拍案件



●大安區法拍案件|●萬華區法拍案件|●信義區法拍案件|●士林區法拍案件



●北投區法拍案件|●內湖區法拍案件|●南港區法拍案件|●文山區法拍案件



↓新北市法拍屋請點選各區任意門↓



▓板橋區法拍案件|▓汐止區法拍案件|▓深坑區法拍案件|▓新店區法拍案件



▓永和區法拍案件|▓中和區法拍案件|▓土城區法拍案件|▓三峽區法拍案件



▓樹林區法拍案件|▓鶯歌區法拍案件|▓三重區法拍案件|▓新莊區法拍案件



▓泰山區法拍案件|▓林口區法拍案件|▓蘆洲區法拍案件|▓五股區法拍案件



▓八里區法拍案件|▓淡水區法拍案件



↓桃園市法拍屋請點選各區任意門↓



▲桃園區法拍案件|▲中壢區法拍案件|▲蘆竹區法拍案件|▲龜山區法拍案件



▲八德區法拍案件|▲平鎮區法拍案件|▲大園區法拍案件|▲大溪區法拍案件



▲新屋區法拍案件|▲楊梅區法拍案件|▲龍潭區法拍案件|▲觀音區法拍案件



↓新竹縣市法拍屋請點選各區任意門↓



★東區法拍案件|★北區法拍案件|★香山區法拍案件|★竹北市法拍案件



★竹東鎮法拍案件|★新埔鎮法拍案件|★湖口鄉法拍案件|★新豐鄉法拍案件



↓基隆市法拍屋請點選各區任意門↓



★中正區法拍案件|★信義區法拍案件|★仁愛區法拍案件|★中山區法拍案件



★安樂區法拍案件|★暖暖區法拍案件|★七堵區法拍案件



↓宜蘭縣法拍屋請點選各區任意門↓



●宜蘭市法拍案件|●頭城鎮法拍案件|●礁溪鄉法拍案件|●冬山鄉法拍案件



●蘇澳鎮法拍案件|●五結鄉法拍案件|●羅東鎮法拍案件|●員山鄉法拍案件



●南澳鎮法拍案件|●壯圍鄉法拍案件|●三星鄉法拍案件



↓苗栗縣法拍屋請點選各區任意門↓



▓苗栗市法拍案件|▓頭份市法拍案件|▓竹南鎮法拍案件



------------------------------------------------------------------



■房屋案源■司法院法拍屋公告、台灣金融資產公司法拍屋金拍屋、國有財產署拍賣公告

■房屋類型■透天、別墅、豪宅、店面、土地、獨立套房、公寓、電梯大樓、辦公室、廠房、純辦、住辦

■品質保證■空屋點交、產權清楚、過濾輻射屋、海砂屋、凶宅

■公司團隊■領導人及業務皆來自信義房屋、永慶房屋等直營體系,是您投資置產的首席顧問

■專業律師■協助不點交程序、遺產持份變價分割、民法強制執行法訴訟

■專業代書■不動產買賣過戶、移轉登記

■金融行庫■代墊尾款、房屋貸款、青年首購、軍公教優惠房貸利率

■其他服務■專業室內裝潢設計、包租代管、節稅規劃



------------------------------------------------------------------



免費諮詢→→優室法拍→→林小陽~專線~0966-781-595
坪數說明
建物登記總坪數 50.83 土地登記總坪數 14.75
主建物坪數 27.89 停車位坪數 7.54
附屬建物坪數 4.61 公共設施坪數 10.79
增建坪數 地下室坪數
周邊環境
生活機能 鄰近交通
鄰近地標 公園綠地
鄰近學區 捷運站
房子聯絡人資訊
聯絡人姓名 林先生
(煩請告知聯絡人,您是在House-Info房屋網看到這則廣告,真摯感恩您的幫忙)
手機
0966-781-595
電子信箱
Skype通話 Line加入好友 Line加入好友
所屬公司名稱 優室法拍屋│Google五星商家│林小陽│專業法拍代標│信義房仲經驗│全台為您服務│凌陽有限公司
公司電話 專線:0966-781-595 / LINE:0966781595 / 公司:02-25000075 公司傳真 ★法拍代標最專業推薦 優室林小陽★
公司地址 台北市中山區民生東路三段31號11樓 (瑞星名廈/BMW汽車對面)│法拍代標專業推薦 林小陽
網 址 http://www.優室法拍屋.tw
贊助商廣告
蘆洲法拍華廈-1
蘆洲法拍華廈-1
蘆洲法拍華廈-2
蘆洲法拍華廈-2
蘆洲法拍華廈-3
蘆洲法拍華廈-3
蘆洲法拍華廈-4
蘆洲法拍華廈-4
蘆洲法拍華廈-5
蘆洲法拍華廈-5
蘆洲法拍華廈-6
蘆洲法拍華廈-6
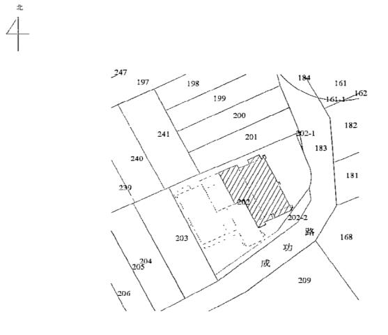
觀看地圖

新北市蘆洲區成功路77號3樓 ★ 林小陽 0966-781-595-華廈

物件留言
請注意,如果您詢問的內容與物件不相符合或是廣告,經過審核,系統將會直接刪除您的發問內容
等待圖示
檢舉物件不實
等待圖示
黃金曝光
相似物件
www.house-info.tw房屋網免責聲明:本系統為租用式開放房子買賣網站建置平台,僅提供會員查詢-法拍新北市蘆洲區華廈-等房子資訊參考,並不涉入任何諮詢、交易。 物件(服務)聯絡人公佈的資訊、文字、照片、圖形、產權、廣告內容、或其他資料若有不實或違法情事,或與客戶聯絡交易過程中若衍生民事或刑事等法律問題,皆與本房屋網站無關,所有商標、文章、名稱等版權,皆歸屬原著作者所有!
●電話:07-7963288